Полевая аппаратура диапазона 430—440 Мгц


А.И. Колесников
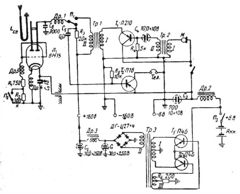
На рисунке 1 показана разработанная автором схема трансивера для диапазона 430—440 Мгц на лампе 6Н15П и транзисторах для работы в полевых условиях. Конструкция обладает жесткостью и компактностью. Единственная в конструкции лампа используется в режиме передачи в качестве двухтактного генератора, а в режиме приема — в качестве двухтактного сверхгенератора. Колебательный контур выполнен в виде плоской линии. Перестройка контура осуществляется перемещением на холодном конце линии короткозамыкающей перемычки.

Переход с приема на передачу осуществляется путем закорачивания переключателем П2 сопротивления R2. Для применения меньшего количества деталей и компактности самой конструкции в схеме использовано самогашение частоты. Амплитудная модуляция осуществляется следующим образом: от угольного микрофона напряжением НЧ через микрофонный трансформатор Тр2 и конденсатор С4 поступает на базу транзистора типа Т1 П210 или П202, в цепь коллектора которого включен модуляционный трансформатор Тр1.

Схема
Рис.1. Схема трансивера для диапазона 430—440 Мгц

В режиме приема ПЧ колебания, выделяемые на сопротивлении через конденсаторы С5 поступают на базу транзистора Т2 П16, в цепь которого включен телефон. Переход с приема на передачу (П1) в данной схеме осуществлен с помощью электромагнитного реле на три группы контактов, управляемого тангентой микротелефоной трубки, или может быть осуществлен с помощью любого низкочастотного переключателя.

Питание цепей накала и транзисторов осуществляется от шестивольтового аккумулятора через Г-образный фильтр изкой частоты. Анодные цепи лампы питаются через преобразователь постоянного тока на транзисторах Т3 и Т4.

Конструкция и монтаж.

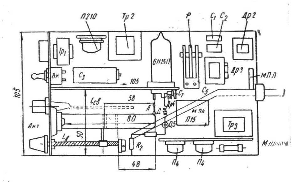
Радиостанция смонтирована на П-образном коробчатом шасси размером 105х200х45 мм, изготовленном из 1,5-миллиметрового дюраля. Расположение деталей показано на рис. 2.

Монтаж
Рис.2. Расположение деталей

Плоская линия ВЧ контура выполнена из листовой попсеребренной меди длиной 80 мм, шириной 12 мм и толщиной 21 мм(?), расстояние между линиями 11 мм. На холодном коце линия имеет уголок, при помощи которого она крепится к любому изоляционному материалу. Короткозамыкающая перемычка выполнена из гартованной латуни на оправке из органического стекла и перемещается внутри линии с помощью двухзаходного винта, расположенного рядом с линией. При выполнении конструкции изменение частоты контура может осуществляться и с помощью флажка, описанного ранее. Виток связи расположен рядом с линией. Одним своим концом он припаян к антенному разъему, а вторым — непосредственно на корпус антенного разъема. Длина петли связи 65 мм, выполнена из медного посеребренного провода диаметром 1,2—1,8 мм. С другой стороны от перегородки расположены модулятор и все детали, относящиеся к нему. За модулятором и ВЧ каскадом, с задней стороны, расположен блок питания.

Детали.

Данные всех деталей указаны на схеме, намоточные данные трансформаторов и дросселей приведены в таблице.

Таблица

Конденсатор С4 — типа ЭМ, С7 — типа КТК, остальные конденсаторы некритичны и могут быть любого типа, важно только, чтобы они были малогабаритными. Трансформаторы могут быть применены любого, типа, близкие по своим данным к описанным.

Налаживание.

Прежде чем приступить к налаживанию, необходимо тщательно проверить весь монтаж. Ошибка в монтаже транзисторов или неправильная полярность включения питания могут вывести их из строя. Налаживание начинается с блока питания. Характерным признаком работы преобразования является возникновение Колебаний звуковой частоты. Если колебания не возникают, необходимо поменять местами концы обмоток I или III. В дальнейшем налаживание сводится к подбору величины сопротивления которое может изменяться от 50 до 200 ом. От величины этого сопротивления зависит устойчивость работы преобразователя и даваемое им высокое напряжение, которое должно быть в пределах 160—200 в. Генератор высокой частоты, как правило, начинает работать сразу и налаживание его заключается в установке требуемой частоты (430—440 Мгц). При выполнении линии по заданным размерам путем перемещения короткозамыкающей перемычки попасть в необходимый участок диапазона не представляет трудности.

В режиме передачи налаживание сводится к подбору величины сопротивления R1, индуктивности дросселя Др4, емкости С7 и связи с антенной для получения наибольшей отдачи, о которой судят по накалу лампочки (6,3 в, 0,28 а), включенной на выход трансивера. В процессе экспериментальной работы с радиостанцией выяснилось, что катушка связи должна иметь дополнительную точку заземления, которая подбирается опытным путем; она лежит примерно в середине петли связи. Дополнительная точка заземления повышает отдаваемую мощность и увеличивает чувствительность приемника.

Налаживание приемника заключается в подборе величины сопротивлений R2 и R3 на максимальную чувствительность и устойчивость сверхрегенерации при данной связи с антенной.

Источник:
А.Колесников. "Справочник ультракоротковолновика", М. ДОСААФ, 1966г.


[ На главную ] [ В раздел ]