Портативный ВЧ-детектор и измеритель мощности


Пол Уэйд, W1GHZ
Измерители мощности ВЧ-сигнала — чрезвычайно полезные приборы. Независимо от того, настраиваем ли мы самодельное оборудование, проверяем КСВ антенны, регулируем линейный усилитель или просто контролируем выходную мощность во время соревнований, почти все аспекты работы радиолюбителя могут использовать измеритель мощности.

На низких частотах большинство из нас используют ваттметры Bird Thruline, потому что они просты, надежны, прочны и доступны по цене.

Экспериментаторы в области микроволновой техники предпочитают лабораторные приборы, такие как измерители мощности HP431, 432 и 435, которые не просты в использовании и доступны по цене только на рынке излишков. Больной опыт научил многих из нас, что эти приборы не выдерживают большой избыточной мощности. Наконец, им требуется переменный ток.

Этот проект начался с необходимости в портативном ВЧ-индикаторе для работы в режиме ровер, но с тех пор я обнаружил, что беспроводной измеритель мощности, достаточно недорогой, чтобы с ним можно было обращаться небрежно, является удобным устройством с множеством применений.

Портативный радиочастотный анализатор – УВЧ и микроволны. Рано или поздно передвижная станция обнаруживает, что никто не отвечает на её звонки. Работает ли оборудование? Сбои неудивительны, поскольку оборудование трясётся в транспортном средстве и эксплуатируется в различных неприятных условиях. Итак, как передвижная станция проверяет работоспособность оборудования? Если повезёт, есть маяки, чтобы проверить, слышит ли приёмник, но как насчёт передатчика? Вырабатывает ли он энергию? Доходит ли она до антенны?

Несколько лет назад я собрал индикатор излучения на 10 ГГц – рупор, соединённый с диодным детектором, и волноводный аттенюатор между ними для уменьшения мощности. Поскольку это была работа в последнюю минуту, я просто обмотал всё стяжками к микроамперметру и запихнул его в картонную коробку. Просто держа его перед тарелкой, это срабатывало – когда устройство работало, показания прибора застревали. Позже, когда я получил сообщения о слабом сигнале, стрелка индикатора почти не сдвинулась с места. К счастью, у меня был запасной трансивер, и я смог продолжить работу.

Прошлым летом я ездил на соревнования по УВЧ-связи. Я взял с собой индикатор 10 ГГц и проверял передатчик каждый раз, когда устанавливал его на новом месте.

Однако это не помогло на других диапазонах, особенно на 5760 МГц, где активность ниже. Изготовление индикатора для каждого диапазона — одно из решений, но и так в багажнике пикапа достаточно лишних вещей. Мне нужен был многодиапазонный индикатор.

Portable RF Sniffer
Рисунок 1.

Несколько компаний-производителей полупроводников выпустили микросхемы для измерения мощности в беспроводных сетях. Первой из них стала микросхема Analog Devices[2] AD8307, работающая до 500 МГц; W7ZOI и W7PUA использовали эту микросхему для создания простого измерителя мощности радиочастот1. Недавно появились новые микросхемы, работающие на более высоких частотах. Большинство из них работают примерно до 2,5 ГГц, но одна, Linear Technology3 LTC5508, рассчитана на 7 ГГц. Поскольку Linear Tech с удовольствием продает их напрямую со своего веб-сайта (www.linear.com) всего за 1,75 доллара за штуку, я заказал несколько штук.

Микросхема AD8307 выпускается в стандартном корпусе DIP, но более высокочастотные версии поставляются в крошечных корпусах для поверхностного монтажа, поэтому потребовалась печатная плата. Я разместил её на небольшой плате и прикрепил в углу другой платы — я стараюсь использовать каждый миллиметр мини-платы ExpressPCB4 (www.expressPCB.com).

Я хотел проверить, на какой частоте будет работать микросхема, поэтому собрал плату с хорошим разъемом SMA с маленьким контактом и качественным микроволновым конденсатором ATC. Готовая плата показана на рисунке 1, а принципиальная схема находится в левом нижнем углу рисунка 3, обозначенная как «VHF до 10 ГГц».

Характеристики очень хорошие. LTC5508 имеет детектор на основе диода Шоттки с температурной компенсацией, поэтому показания достаточно воспроизводимы, и выходной усилитель, позволяющий напрямую управлять измерительным прибором. Чувствительность хорошая, с пригодным выходным сигналом при входной мощности от –20 до +10 дБм. Частотная характеристика была хорошей примерно от 100 МГц до 5 ГГц, с небольшим спадом до 8 ГГц и примерно на 5 дБ ниже на 10,368 ГГц, как показано на рисунке 2. Важно то, что она продолжает работать даже на 12 ГГц и охватывает все диапазоны VHF от 2 метров и выше (спад на низких частотах обусловлен небольшим входным конденсатором 8,2 пФ).

Portable RF Sniffer
Рисунок 2.

Хотя частотная характеристика не такая ровная, как у лабораторного измерителя мощности, например, HP 432, она, по-видимому, сопоставима по чувствительности и повторяемости. Детекторный чип имеет некоторые преимущества: очень низкое энергопотребление, требующее всего пару миллиампер при напряжении от 3 до 5 вольт, и быстрая реакция — достаточно быстрая для демодуляции данных со скоростью до 2 МГц.

Полная принципиальная схема представлена на рисунке 3.

Portable RF Sniffer
Рисунок 3.

Для компенсации частотной характеристики мы могли бы составить калибровочную таблицу для каждого диапазона или даже создать отдельный блок для каждого диапазона — микросхемы достаточно дешевы.

Низкое энергопотребление идеально подходит для моего применения — портативного индикатора мощности. Вместо хрупкого измерителя я выбрал светодиодный измеритель мощности RFPM от DEMI5 (www.downeastmicrowave.com), светодиодный индикатор, разработанный WW2R.

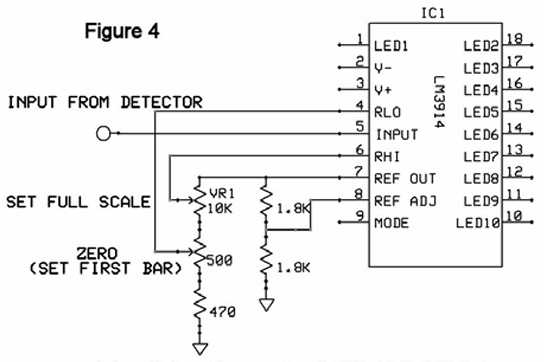
Поскольку LTC5508 имеет смещение, около 260 милливольт на выходе без ВЧ-входа, мне пришлось модифицировать RFPM для обнуления смещения; потребовались три резистора и потенциометр. Модификации показаны на рисунке 4.

Portable RF Sniffer
Рисунок 4.

Плата детектора и плата RFPM помещаются в небольшой пластиковый корпус с отсеком для 9-вольтовой батареи (LMB 502 или Philmore PB524). Я отрегулировал потенциометр ZERO так, чтобы первая светодиодная полоса горела как сигнальная лампа, а потенциометр полного диапазона — на +10 дБм. Вторая полоса загорается при –14 дБм, поэтому динамический диапазон составляет 24 дБ. Последним элементом головоломки является печатная логопериодическая антенна WA5VJB, работающая в диапазоне частот от 2 до 11 ГГц. Полный радиочастотный анализатор показан на рисунке 5 – широкополосный, недорогой, портативный и работающий от батареи. Внутреннее устройство показано на рисунке 6.

Portable RF Sniffer Portable RF Sniffer
Рисунок 5.            Рисунок 6.

Измеритель мощности во всех диапазонах

Устройство на рисунке 6 работает хорошо, но собрано на скорую руку. В корпусе много пустого пространства, используется только часть платы RFPM, и ни одно из формованных монтажных отверстий не использовано. Я запустил программу ExpressPCB, чтобы попробовать новую компоновку печатной платы.

Первым шагом в компоновке была модифицированная схема WW2R — использование двухсторонней платы позволило бы устранить все длинные, запутанные дорожки на рисунке 6 и уменьшить размер платы.

Затем я скопировал схему LTC5508 со своей тестовой платы и добавил монтажные отверстия для самого маленького пластикового корпуса с отсеком для 9-вольтовой батареи, который я смог найти, — LMB 501.

Это оставило пустой угол рядом с LTC5508, поэтому я подумал о добавлении низкочастотного ВЧ-детектора.

Ранее я также экспериментировал с AD8307, результаты показаны на графике, обозначенном как «Без компенсации» на рисунке 7. АЧХ спадает выше 100 МГц, а у LTC5508 — ниже 200 МГц, поэтому ни один из них не показал бы хороших результатов на двух метрах. В статье W7ZOI и W7PUA описывалась схема компенсации, добавленная ими на вход AD8307 для выравнивания АЧХ, поэтому я добавил аналогичную схему в новую схему. Это делает АЧХ более плоской: кривая «С компенсацией» на рисунке 7.

Portable RF Sniffer
Рисунок 7.

Схемы всех трех частей показаны на рисунке 3: детектор УВЧ и СВЧ, детектор низких частот и светодиодный индикатор, переключающийся между двумя детекторами. Благодаря этой комбинации мы получаем радиочастотный индикатор, работающий в диапазоне от 10 кГц до 10 ГГц.

Когда я демонстрировал свою первую версию на собрании NEWS Group6, W1TDS спросил, почему у меня нет выхода для управления моим аудиоиндикатором Tonemeter7. Конечно! Я добавил выходной разъем, который может управлять либо тонометром для аудиоиндикации, либо цифровым вольтметром для точных показаний. Изменение мощности на 1 дБ приводит к очень заметному изменению тональности звука, а цифровой вольтметр обеспечивает стабильную индикацию гораздо меньших изменений, что делает устройство полезным измерителем мощности для настройки и тестирования.

Калибровка

Как мы уже видели на рисунках 2 и 7, существует некоторая зависимость от частоты, поэтому любая точная калибровка должна проводиться на определенных частотах. Однако для большинства целей достаточно относительной калибровки в пределах нескольких дБ.

Portable RF Sniffer
Рисунок 8a.

Два детектора имеют разные кривые чувствительности, показанные на рисунке 8. Выходной сигнал AD8307 представляет собой прямую линию от примерно –70 дБм до примерно +5 дБм, что значительно превышает динамический диапазон любого коммерческого измерителя мощности.

Portable RF Sniffer
Рисунок 8b.

Прямая характеристика AD8307 означает, что мы можем напрямую считывать разницу мощности с точностью до 25 милливольт на дБ. LTC5508 не имеет линейной характеристики и не так чувствителен, его полезный диапазон составляет около –20 дБм до примерно +13 дБм, что сопоставимо с измерителем HP432. Таким образом, мы получаем сочетание высокой чувствительности в низкочастотном диапазоне и отличной частотной характеристики в высокочастотном диапазоне.

Гистограмма удобна в качестве быстрого индикатора, не требующего размышлений. Во многих случаях этого достаточно. Поскольку кривые чувствительности на рисунке 8 настолько различны, для корректной работы светодиодной гистограммы на обоих детекторах требуется некоторый компромисс. Выходной сигнал AD8307 можно уменьшить с помощью резистора R5 на схеме для регулировки крутизны отклика. Я обнаружил, что резистор 18 кОм дал аналогичные показания полного диапазона для обоих детекторов. Я установил потенциометр «НУЛЕВОЙ» так, чтобы загорелась первая полоска на высокочастотной стороне, чтобы обеспечить бесплатный индикатор, и установил потенциометр «ПОЛНЫЙ ШКАЛА» так, чтобы он загорался при +10 дБм. Затем я измерил отклик обеих сторон на частоте 144 МГц, показанный в этой таблице:

Portable RF Sniffer

Светодиодный индикатор может работать в режиме гистограммы или в режиме точечного отображения, при этом одновременно может гореть только один светодиод. Поскольку каждый светодиод потребляет около 20 мА, время работы от батареи в точечном режиме будет значительно дольше. Режим выбирается перемычкой J4 на плате.

Конструкция

Portable RF Sniffer
Рисунок 9.

На рисунке 9 показаны вид сверху и снизу печатной платы, а на рисунке 10 — готовый вседиапазонный блок. Схема печатной платы на рисунке 11 будет лучше видна в цвете, поэтому схема и файл платы доступны на моем веб-сайте (www.w1ghz.org).

Portable RF Sniffer
Рисунок 10.

Portable RF Sniffer
Рисунок 11.

Применение

Одно из очевидных применений — это детектор радиочастотного сигнала для мобильных станций с широкополосной антенной, подобной той, что показана на рисунке 5. Следующим летом, если кто-то не ответит, я заподозрю неисправность его приемника.

Другое применение — обнаружение утечки радиочастотного сигнала. Первое, что я сделал с детектором, — проверил свою микроволновую печь. Утечка была незначительной, а прозрачное окошко в дверце показало худшее качество сигнала, чем уплотнители дверцы.

Высокая чувствительность низкочастотной части делает его еще более полезным. Используя антенну типа «резиновая уточка», утечка от моего FT-817, работающего на мощности 2,5 Вт на двух метрах, загорелась примерно на 3 деления, и другие трансиверы показали аналогичную утечку. Это не очень большая мощность, но вполне достаточна, чтобы вывести из строя ближайший приемник.

Менее очевидное применение — измерение уровня шума. Мой измеритель коэффициента шума AIL 75 требует внешнего усиления для корректного считывания показаний, но показывает точные показания только в ограниченном диапазоне входного уровня. При достижении минимального уровня загорается зеленый индикатор, но никаких признаков избыточной мощности нет – я использую ступенчатый аттенюатор для определения оптимального уровня. С помощью портативного измерителя мощности мне удалось измерить необходимые уровни: от –50 до –20 дБм. Таким образом, если уровень шума на входе ПЧ должен показывать от 3 до 7 делений – простая проверка.

Если устройство окажется достаточно чувствительным, чтобы показывать солнечный шум (измерение выходного сигнала трансивера) в портативных условиях, оно станет еще более полезным. Солнце должно находиться выше в небе и обеспечивать больше тепла, прежде чем этот тест станет возможным.

Резюме

Это устройство позволяет быстро и приблизительно измерить мощность радиочастотного сигнала практически в любом месте. Я начал с вопроса о его полезности – и продолжаю находить новые применения!

Ссылки:

1. Wes Hayward, W7ZOI, and Bob Larkin, W7PUA, “Simple RF-Power Measurement,” QST, June 2001, pp. 38-43.
2. www.analog.com
3. www.linear.com
4. www.expresspcb.com
5. www.downeastmicrowave.com
6. www.newsvhf.com
7. Paul Wade, W1GHZ, “An Audio Tone Indicator for Tuning or Antenna Measuring,” Proceedings of the Joint Conference – Microwave Update 2002 and the 28th Eastern VHF/UHF Conference, ARRL, 2002. (also www.w1ghz.org)


Материал перевел и подготовил - RA3TOX
Февраль 2026


[ На главную ] [ В раздел ]