Предусилитель-эквалайзер


И. Подгорный UC2AGL
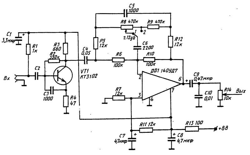
Полоса пропускания микрофонного усилителя однополосного передатчика находится в пределах 300...3000 Гц. Однако амплитуда составляющих спектра речи с повышением частоты падает и на 3 кГц оказывается ниже амплитуды составляющих с частотой 300...400 Гц. Предлагаемая схема предусилителя — эквалайзера позволяет устранить этот недостаток и значительно улучшить разборчивость речи.

Предусилитель-эквалайзер

Речевой эквалайзер собран на операционном усилителе К140УД7. Резисторы эквалайзера на 12 к, 100 к, 470 к, а также конденсаторы на 1000 пф, 2200пф необходимо подобрать с точностью не хуже ±5 %. В качестве указанных емкостей лучше всего применить слюдяные конденсаторы.

Подъем амплитуды на 12 дБ происходит на частоте 2700 Гц. Переменным резистором R14 устанавливают необходимое выходное напряжение.

В предусилителе резистор R1 необходим только в случае использования электретного микрофона.

Источник: "Радиолюбитель" 2/91


[ На главную ] [ В раздел ]